Company Name
Company Activity
First & Last Name
Title
Address / Whatsapp ID
Email (required)
Country
Mobile
Telephone
Which product are you interested in?
Unscrambler
Orienter
Blow Molding Machine
Case Packer
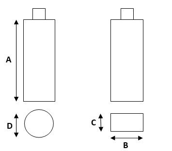
Bottle Dimension:
Bottle Type
Bottle Material
Dimension:
D (Diameter) mm
A (Height) mm
B (Base 1) mm
C (Base 2) mm
Machine Speed (Bottle / Hour)
Bottle Bottom FlatPetaloid
Comments
Δ